Вяжем классные кардиганы крючком для красивой осени!
Ну всё, топики и сарафанчики откладываем подальше (вернёмся к ним ближе к следующему лету!), берёмся за вещи потеплее. Не бойтесь, вязать шубы не предлагаю — всё-таки на улице ещё тепло и хорошо… хотя на днях обещают резкое похолодание до +15. Впрочем, я уверена, что особо запасливые рукодельницы уже и шубы вязать начали. Вот не умею я так — вяжу под настроение (по этой причине вязать на заказ у меня не вышло). Сейчас настроение шепчет, что самое время связать какую-нибудь красивую кофточку, так как надевать куртки и пальто пока совсем не хочется, да и погода пока позволяет ходить в майках.
Сегодня принесла для вас 7 классных кардиганов, которые можно связать крючком. Сохраняйте в свою копилку!
Кардиган крючком № 1 ♥
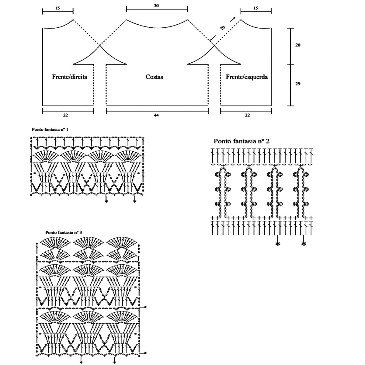
Сочно-зелёный кардиган с красивой ажурной кокеткой. Разнообразие узоров, несложный фасон и по-летнему освежающий цвет — всё это делает данную модель особенно привлекательной!
Для вязания нам потребуется 7 мотков — на размер 44-46 — зелёной пряжи: 100% мерсеризованный хлопок; 50 гр — 135 м. Крючок № 2,5-3.
Кардиган крючком № 2 ♥
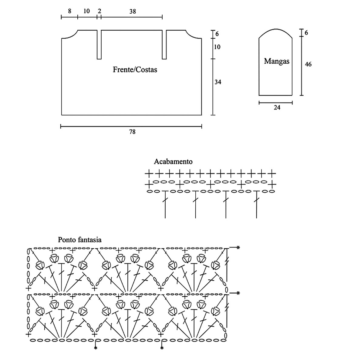
Шикарный фиолетовый карди, выполненный в филейной технике вязания. Модель свободного кроя, прямой фасон до бедер, широкие рукава три четверти.
Нам понадобится 7 мотков — на размер 44-46 — фиолетовой пряжи: 100% мерсеризованный хлопок; 50 гр — 167 м. Крючок № 1,75-2.
Кардиган крючком № 3 ♥
Нежный горчично-жёлтый кардиган на пуговицах в стиле французской кофточки. Прямой фасон до пояса, втачной узкий рукав и глубокий V-образный вырез горловины.
Нам потребуется 5 мотков — на размер 44-46 — горчично-жёлтой пряжи: 20% шерсть, 80% акрил; 100 гр — 200 м. Крючок № 3-3,5. А также 4 пуговицы в тон диаметром 1,5 см.
Кардиган крючком № 4 ♥
Элегантный бежевый кардиган с оригинальной круглой кокеткой. Прямой фасон чуть ниже пояса, круглый вырез горловины, длинные узкие рукава и фестончатая отделка по краю.
Нам понадобится 7 мотков — на размер 44-46 — бежевой пряжи: 100% мерсеризованный хлопок; 50 гр — 135 м. Крючок № 2,75-3.
Кардиган крючком № 5 ♥
Насыщенно-розовый кардиган на пуговицах с крупным узором из ромбов на фоне протяжек из воздушных петель. Прямой фасон до пояса, втачной узкий рукав и глубокий V-образный вырез горловины.
Для вязания нам потребуется 5 мотков — на размер 44-46 — розовой пряжи: 50% хлопок, 50% акрил; 100 гр — 115 м. Крючок № 4-4,5. А также 5 пуговиц диаметром 3 см.
Кардиган крючком № 6 ♥
Нарядный золотисто-бежевый кардиган станет незаменимой вещью в вашем гардеробе, ведь он будет одинаково хорошо смотреться и с вечерним платьем, и с офисным ансамблем, и с простыми джинсами! Прямой фасон до бедер, спущенный рукав-труба на узкой манжете.
Нам понадобится 7 мотков — на размер 44-46 — золотисто-бежевой пряжи: 100% вискоза; 100 гр — 240 м. Крючок № 3-3,5.
Кардиган крючком № 7 ♥
Уютный сине-серо-розовый кардиган на пуговицах с небольшим отложным воротником. Простая имитация жаккарда. Прямой фасон до пояса, втачной рукав-труба.
Нам понадобится 4 мотка синей и по 1 розовой и серой пряжи — на размер 44-46: 100% акрил; 100 гр — 200 м. Крючок № 4,5-5. А также 4 пуговицы диаметром 1,5 см.

Оставьте ваш комментарий